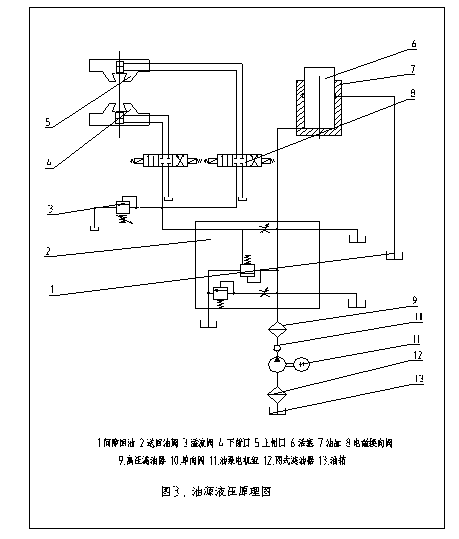
液压万能材料试验机液压站主要由油箱、油泵、滤油器、电动机、电磁阀、安全阀等组成。液压站工作原理是液压油通过油泵到集成集成阀块总成一个过程,通过各种布局的电磁阀和压力阀给予液压油缸供油,液压油缸在高压的作用下,使油缸上下运动。而材料试验机的主机部分由四根立柱将缸体与上梁连接在一起,在试验机的上横梁上装有调节丝杠,电机升降丝杠可调整试验机的空载高度,丝杠下端装有球座与上压板。下压板置与油缸的活塞上,当试件与上压板接触时,上压板球座能自调正平衡、使试件与上下压板保持水平。下压班上刻有试件定位用的刻线,做试验时试件要对准刻线,活塞与油缸间设有密封装置,可以防止液压油外泄,但使用时活塞仍有少量液压油流出,所以在缸体顶端有环型油槽,并由泄油通道排出,流回油箱。

万能材料试验机的液压油在密闭空间内输送压力是遵循帕斯卡定律。六立柱式万能材料试验机的传动系统包括动力油源、微机控制系统、主机工作系统。均采用高压齿轮泵作为驱动源,液压万能试验机共有三个油缸,主油缸、液压夹紧油缸两只,通过油泵向电磁阀供油。电磁阀由专业的试验机软件控制流量的大小,来保证活塞内的压力。试验开始后,压力随试样的拉力而上升,来保证使试验过程中需要的较大力,使试验完美结束或者达到力保持的目的。
|